Sony Patents 3D Head-Tracking Glasses For Future PlayStation Consoles
Sign up to receive The Snapshot, a free special dispatch from Laptop Mag, in your inbox.
You are now subscribed
Your newsletter sign-up was successful
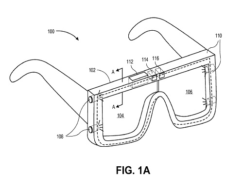
Forget controllers-- the future of gaming could be all about wearable tech. Your future video game console may integrate with glasses that would be just as crucial to gameplay as your controller. At least that’s what Sony and Microsoft are hoping to accomplish. A recent patent filed by the PS4-maker described a set of 3D glasses that can track your head movement and adjust light based on the ambient lighting conditions within the gaming environment.
Following a very similar patent from Microsoft, Sony’s invention would involve 3D illuminated glasses that work in conjunction with a motion-controlled camera similar to the Kinect. The two devices would capture the player’s movement and feed the information to the console. The patent notes that users would be able to control the game using just the wearable device or both the 3D glasses and a traditional controller.
MORE: PS4 vs. Xbox One: Console Comparison
Article continues belowFor example, the glasses would detect when a player swings his or her head from side to side while playing a game. If the lights in the room are dimmed, the game console would send a wireless signal to the glasses to adjust lights embedded within the wearable peripheral. These tracked head movements could also be used as inputs to the game to render 3D images, according to Sony.
“Head tracking can be critical for games that render based on where a user’s head is,” Sony writes in its patent.
Sony says that head tracking can create a more immersive gaming experience by making movements and interactions more lifelike. For example, the head monitoring tech can be used to make it seem like a user is actually moving closer to a person or object within a video game as he or she steps toward the television.
“There exists a need in the art for more robust head tracking that is not too expensive for the average consumer,” Sony writes.
Sign up to receive The Snapshot, a free special dispatch from Laptop Mag, in your inbox.
Although there’s no telling when such a device would launch or if Sony will ever bring this tech to the market, the fundamental elements are already present in Sony’s PlayStation 4. The controller for the PS4 comes with a light bar that works in conjunction with the console’s camera system known as the PlayStation 4 Eye. This gauges depth and how far the player is from the system. Sony’s patented glasses appear to be a more evolved version of this technology, which will probably provide more robust ways to interact with the console through motion.
Microsoft and Sony have been neck and neck when it comes to the console war, and this competition is likely to continue in the wearable tech space. Microsoft recently filed a patent that details 3D glasses that could bring augmented reality to the Xbox.

